crwdns2933423:0crwdne2933423:0

Repair guides and support for televisions manufactured by Panasonic.

Panasonic Plasma Pop and Poof!

Hi there!

Our Panasonic Plasma HDTV TC-P42S30 from 2011/12 finally gave up on us the other night. It had been showing signs of color distortion in the picture (wonky colors and bars but it would dissipate after a bit of time), but we didn't think too much of it. Then, pop! The picture was gone. There was a popping sound, not super loud, no burning smell or smoke.

I opened up the back, assuming I'd see the issue right away (you know, YouTube makes experts of us all), but nothing is burnt our or misshapen or looks anything but normal. A few internet searches told me it's the Y-Board, which I also learned is the panel on the left, but nothing looks abnormal there. I've attached photos of all the boards to this post. Thanks in advance!

Block Image
Block Image
Block Image
Block Image
Block Image
Block Image
crwdns2934081:0crwdne2934081:0 crwdns2934083:0crwdne2934083:0 crwdns2934093:0crwdne2934093:0

crwdns2934109:0crwdne2934109:0

crwdns2889612:0crwdne2889612:0 2
crwdns2947414:01crwdne2947414:0

@avocewithahammr does your power LED light up? Does it blink? Any sign of life from your TV?

crwdns2934271:0crwdnd2934271:0crwdne2934271:0

crwdns2934285:0crwdne2934285:0

crwdns2933315:02crwdne2933315:0

crwdns2934051:0crwdne2934051:0

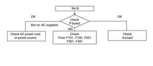
@avocewithahammr for now follow the Panasonic Flowchart and check the power board fuses

Block Image

I never understood why Panasonic and Sony had to come up with their own terms. The A-board is the main board. The one that has the AV connections (3rd picture you've posted) Check the voltages going from the power board to the main board (P6 to A6) on the power board connector. Carefully when you measure those since your TV will have to be on and you do not want to accidentally cross multiple connectors.

AC is applied to the standby circuit in the P board and produce STB5V. The STB5V is provided to the A board via pin 6 of connector P6. If the STB5V is missing, the TV is in “No power " mode.

Block Image

You also have the legend for the connector printed on your board. Always verify the right pin and see if you get the voltage as needed. You will have to do that with your TV turned on, since I don't think it'll turn on, the issue may just be the power board. Of course, I am known to have been wrong before (often) so it may just show the right voltages. Let us know what you come up with. yes, the voltages are DC voltages. Multimeter to DC, set range to something like 50V. Now black probe to ground and red to test the contacts.

The fuses on the power board are AC voltage. Set your meter to 300-400VAC and measure one probe to either N or L (depending on which fuse you are testing) on P9 (AC connector) and the other on each leg of the fuse. Or you can leave the power off, disconnect the power cable. Then set your meter to continuity and check to make sure your fuse have continuity. As always, you are dealing with a live circuit and those plasma TV's can pack a punch. Keep your fingers (as well as kids, pets etc) of the contacts :-)

crwdns2934105:0crwdne2934105:0

crwdns2889612:0crwdne2889612:0 2

crwdns2944067:05crwdne2944067:0:

this is a lot better than my answer lol

crwdns2934271:0crwdnd2934271:0crwdne2934271:0

@shingle nah, yours is good. It’s just an answer that does not include my technobabble. Bottom line, as identified by both of us, seems to be a power board issue.

crwdns2934271:0crwdnd2934271:0crwdne2934271:0

This is incredibly thorough! I don't have a meter, but now am tempted to find one.

crwdns2934271:0crwdnd2934271:0crwdne2934271:0

@avocewithahammr for the

multimeter (my favorite brand is "Cheap" :-) Unless you are thinking about going in the repair business, even a meter from the local department store will work. Once you have a meter and are ready to get started, let us know. We'll help you as much as we can.

You know you can do it. You got this!

Repair is War on Entropy

crwdns2934271:0crwdnd2934271:0crwdne2934271:0

It also might be a good idea to buy a USED multimeter, if you aren't going to need it much.

crwdns2934271:0crwdnd2934271:0crwdne2934271:0

crwdns2934285:0crwdne2934285:0
crwdns2934057:0crwdne2934057:0

Sounds like a component somewhere shorted, most likely somewhere on one of the power boards. The two brown boards appear to be handling most of the power supplication (supplying?) since that's where most of the resistors, inductors, and capacitors are. Would you be able to take a picture of the whole TV including all of the boards together? It might help us identify where the problem is.

crwdns2934105:0crwdne2934105:0

crwdns2889612:0crwdne2889612:0 2

crwdns2944067:03crwdne2944067:0:

@oldturkey03 for some reason, over the past few years, I've noticed that TV power boards (in my experience) are usually brown. Any idea why?

crwdns2934271:0crwdnd2934271:0crwdne2934271:0

I will have to take the tv apart again, but worth it, just to help get to the bottom of this one! Stay tuned for more pics.

crwdns2934271:0crwdnd2934271:0crwdne2934271:0

@shingle that is a really good question. I wonder if it has to do with the substrate. The colored boards are usually some sort of fiberglass. Also, most powerboards are not multilayer boards. Manufacturing maybe easier/cheaper with the old brown substrate.

crwdns2934271:0crwdnd2934271:0crwdne2934271:0

crwdns2934285:0crwdne2934285:0

crwdns2934229:0crwdne2934229:0

Jen Voce-Nelson crwdns2934231:0crwdne2934231:0
crwdns2936625:0crwdne2936625:0:

crwdns2936751:024crwdne2936751:0 2

crwdns2936753:07crwdne2936753:0 14

crwdns2936753:030crwdne2936753:0 53

crwdns2942667:0crwdne2942667:0 280