crwdns2933423:0crwdne2933423:0
crwdns2947577:0crwdnd2947577:0crwdne2947577:0

A range hood is a kitchen appliance installed over the stove, designed to remove smoke, odors, heat, and airborne grease through filtration and ventilation.

Interlock Switch Bracket Installation

Anybody know how difficult it is to replace an interlock switch bracket (lower switch bracket assembly, part # 97009972) on a Kenmore Downdraft Vent/Blower (model # 233.5994690)? Do you have to remove a few panels to access the interlock switch or is it more involved?

crwdns2934089:0crwdne2934089:0 crwdns2934093:0crwdne2934093:0

crwdns2934109:0crwdne2934109:0

crwdns2889612:0crwdne2889612:0 0
crwdns2934285:0crwdne2934285:0

crwdns2933313:01crwdne2933313:0

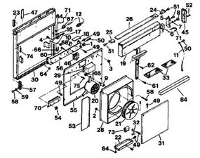
here is the diagram. You will have to figure out how hard it is to replace.

Block Image

Item 10 is the switch. It is a V7-1B17D8-048 which is available from sources other than the Kenmore.

crwdns2934105:0crwdne2934105:0

crwdns2889612:0crwdne2889612:0 0

crwdns2947414:01crwdne2947414:0:

Thanks. I've got that schematic and am thinking to replace the interlock switch bracket assembly you probably need to nearly take the whole thing apart. Hoping someone can confirm/refine that assessment before I decide what action I'm going to take.

Thanks again

crwdns2934271:0crwdnd2934271:0crwdne2934271:0

crwdns2934285:0crwdne2934285:0

crwdns2934229:0crwdne2934229:0

James Brooks crwdns2934231:0crwdne2934231:0
crwdns2936625:0crwdne2936625:0:

crwdns2936751:024crwdne2936751:0 0

crwdns2936753:07crwdne2936753:0 3

crwdns2936753:030crwdne2936753:0 18

crwdns2942667:0crwdne2942667:0 108