crwdns2933423:0crwdne2933423:0

The Galaxy A20s is a midrange Android smartphone released by Samsung in September 2019. Identifiable by model numbers SM-A2070, SM-A207F/DS, and SM-A207M/DS.

Phone is not charging and not opening

I have recently changed my phone pc and repaired it motherboard and after 2 to 3 days it suddenly stopped working again

crwdns2934089:0crwdne2934089:0 crwdns2934093:0crwdne2934093:0

crwdns2934109:0crwdne2934109:0

crwdns2889612:0crwdne2889612:0 1
crwdns2934285:0crwdne2934285:0

crwdns2933313:01crwdne2933313:0

crwdns2934057:0crwdne2934057:0

@harmanpree15900 "repaired it motherboard and after 2 to 3 days it suddenly stopped working again" but you are not telling us what you tried to fix. I assume you checked your charger and your charging cable, as well as cleaned your charging port. If that did not work, you replace the battery, check the voltage on your battery connector while your phone is plugged into the charger.

If that voltage is low, it could be your charging board or the charging circuitry. check the flex cable from the charging board to the motherboard. Check the connectors for any bend or broken pins. The flex cable has issues with breaking contacts. Replacing it can fix this issue.

To disassemble your phone and to change/check the boards and flex cable, use something like this video

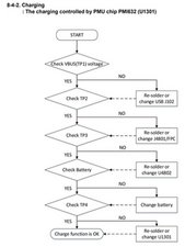
If that still doesn't work for you, also try the flowchart from the manual.

Block Image

and here is the Component Layout It is non-searchable. See if that is where the error is.

While you work on your phone, take lots of pictures. Once you are done with it, take those pictures and create a guide for iFixit. That will help the next person that has the same problem as you do. It's easy and fun to create these guides. https://ifixit.com/Guide/new The iFixit community will appreciate this.

crwdns2934105:0crwdne2934105:0

crwdns2889612:0crwdne2889612:0 1
crwdns2934285:0crwdne2934285:0

crwdns2934229:0crwdne2934229:0

Harman preet singh 481 crwdns2934231:0crwdne2934231:0
crwdns2936625:0crwdne2936625:0:

crwdns2936751:024crwdne2936751:0 0

crwdns2936753:07crwdne2936753:0 1

crwdns2936753:030crwdne2936753:0 9

crwdns2942667:0crwdne2942667:0 214