crwdns2933423:0crwdne2933423:0

Weinmann VENTImotion and VENTIlogic Control Board Replacement

crwdns2911024:0crwdne2911024:0
crwdns2911026:0crwdne2911026:0

crwdns2942213:0crwdne2942213:0

  1. Weinmann VENTImotion and VENTIlogic Control Board Replacement, Control Board: crwdns2935265:01crwdnd2935265:01crwdnd2935265:01crwdne2935265:0
    • Open the device

    • 1) Place the device on a non-slip surface with the top facing downwards.

    • 2) Remove the filter cassette from the top part of the housing.

    • 3) Undo and remove the 6 screws (34)

  2. Weinmann VENTImotion and VENTIlogic Control Board Replacement: crwdns2935265:03crwdnd2935265:01crwdnd2935265:01crwdne2935265:0
    • Disconnect the following

    • - encoder connector (82)

    • -connectors of interfaces (84) and (85) of the control board.

  3. Weinmann VENTImotion and VENTIlogic Control Board Replacement: crwdns2935265:04crwdnd2935265:01crwdnd2935265:01crwdne2935265:0
    • Disconnect the ribbon cable of the display and the fascia film:

    • Pull the latch out until you feel resistance. You can then pull out the ribbon cable.

    • If the latch has not been opened correctly, the ribbon cable may be damaged when it is pulled out.

  4. Weinmann VENTImotion and VENTIlogic Control Board Replacement: crwdns2935265:05crwdnd2935265:01crwdnd2935265:01crwdne2935265:0
    • Pull flow measurement hoses (56) off the flow sensor.

  5. Weinmann VENTImotion and VENTIlogic Control Board Replacement: crwdns2935265:06crwdnd2935265:01crwdnd2935265:01crwdne2935265:0
    • Pull pressure measurement hoses (57) off the pressure sensors.

  6. Weinmann VENTImotion and VENTIlogic Control Board Replacement: crwdns2935265:07crwdnd2935265:01crwdnd2935265:01crwdne2935265:0
    • Insert a new battery (52) in the appropriate holder of the new control board

    • Screw on spring (54)

  7. Weinmann VENTImotion and VENTIlogic Control Board Replacement: crwdns2935265:08crwdnd2935265:01crwdnd2935265:01crwdne2935265:0
    • Put the control board in the top part of the housing and attach it with the four screws (51)

  8. Weinmann VENTImotion and VENTIlogic Control Board Replacement: crwdns2935265:09crwdnd2935265:01crwdnd2935265:01crwdne2935265:0
    • Reattach the pressure measurement hoses (57) to the pressure sensors.

    • Connect the flow sensor marked Hi to the hose connector marked Hi at the device outlet.

  9. Weinmann VENTImotion and VENTIlogic Control Board Replacement: crwdns2935265:010crwdnd2935265:01crwdnd2935265:01crwdne2935265:0
    • Attach the flow measurement hoses (56) to the flow sensor

    • Connect the connection of the flow sensor marked Lo to the hose connector marked Lo at the device outlet.

  10. Weinmann VENTImotion and VENTIlogic Control Board Replacement: crwdns2935265:011crwdnd2935265:01crwdnd2935265:01crwdne2935265:0
    • To prevent the hoses from kinking, position flow measurement hoses (56) and pressure measurement hoses (57) as shown.

  11. Weinmann VENTImotion and VENTIlogic Control Board Replacement: crwdns2935265:012crwdnd2935265:01crwdnd2935265:01crwdne2935265:0
    • Connect the ribbon cable for the fascia film and the display to the control board again:

    • –pull the latch upwards.

    • –push the ribbon cable into the connector.

    • –press the latch back down

  12. Weinmann VENTImotion and VENTIlogic Control Board Replacement: crwdns2935265:013crwdnd2935265:01crwdnd2935265:01crwdne2935265:0
    • Plug the connectors of the interfaces and the rotary knob into the appropriate slots of the control board.

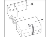
  13. Weinmann VENTImotion and VENTIlogic Control Board Replacement: crwdns2935265:014crwdnd2935265:01crwdnd2935265:02crwdne2935265:0 Weinmann VENTImotion and VENTIlogic Control Board Replacement: crwdns2935265:014crwdnd2935265:02crwdnd2935265:02crwdne2935265:0
    • Refit the box and filter holder.

    • Connect the box and the filter holder to one another by reconnecting the intake side hose (73) from both parts.

    • Refit box (58) and filter holder (37) back on the top part of the housing together.

    • Connect the pressure-side hose (74) from the box.

  14. Weinmann VENTImotion and VENTIlogic Control Board Replacement: crwdns2935265:016crwdnd2935265:01crwdnd2935265:02crwdne2935265:0 Weinmann VENTImotion and VENTIlogic Control Board Replacement: crwdns2935265:016crwdnd2935265:02crwdnd2935265:02crwdne2935265:0
    • Close the Device: Hold the bottom part of the housing (35) up to the side of the top part of the housing (36)

    • Plug the connecting cables for the humidifier (42) and the alarm (43) onto the relevant connectors.

    • Check that all hoses and cables are plugged on firmly.

    • Place the bottom part of the housing (35) on the top part of the housing (36). Ensure that no cables or hoses are trapped or bent.

    • Now screw the top part of the housing tight using the 6 screws (34).

    • Then turn the device back over

    • Check contrast and adjust if necessary .

    • Reset the date and time.

    • Set the date as follows: Year, Month, Day

crwdns2915888:0crwdne2915888:0

To reassemble your device, follow these instructions in reverse order.

crwdns2935227:0crwdne2935227:0

Jay Vidinoff

crwdns2935283:004/07/20crwdne2935283:0

610 crwdns2915208:0crwdne2915208:0

crwdns2935297:02crwdne2935297:0

crwdns2915084:0crwdne2915084:0

Cal Poly, Team S7-G19, Paton Spring 2020 crwdns2935289:0Cal Poly, Team S7-G19, Paton Spring 2020crwdne2935289:0

CPSU-PATON-S20S7G19

crwdns2931471:03crwdne2931471:0

crwdns2935297:04crwdne2935297:0

crwdns2947412:00crwdne2947412:0

crwdns2917038:0crwdne2917038:0

crwdns2936625:0crwdne2936625:0:

crwdns2936751:024crwdne2936751:0 0

crwdns2936753:07crwdne2936753:0 2

crwdns2936753:030crwdne2936753:0 8

crwdns2942667:0crwdne2942667:0 224